Products
CA-0107
Features
- Dual cupholder (regular cup size)
- Mounts in console
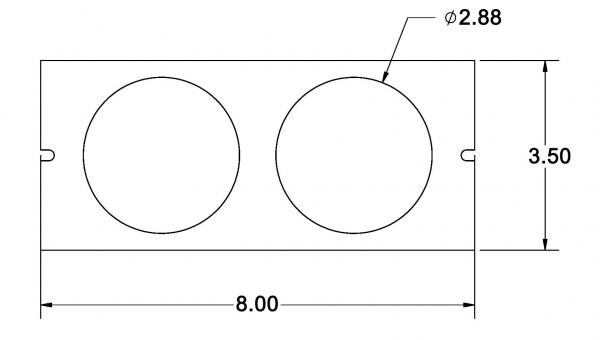
- Dimensions:
L - 3.5"
W - 8.0"
Literature / Downloads
If you have other questions please contact us or call 1-800-538-7338
Read more about our equipment in newsletter section

